Text 23 von 103

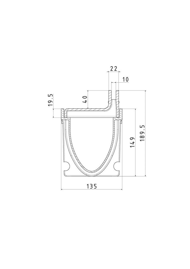
GFK-Rinnen mit Schlitzaufsatz Typ 100/8 VS

WOLFA - Friedrich Wolfarth


Der von Ihnen ausgewählte Ausschreibungstext ist Bestandteil einer herstellerspezifischen Zusammenstellung von Leistungsbeschreibungen. Für eine optimale Vorschau und leichtere Auswahl der gewünschten Texte leiten wir Sie zu unserem Ausschreibungstext-Manager weiter.

Diese Zusammenstellung beinhaltet 3 Einzelpositionen.

Passende Inhalte zum Ausschreibungstext "GFK-Rinnen mit Schlitzaufsatz Typ 100/8 VS"

Passende Produktinformationen

GFK-Rinnen für die Linienentwässerung
GFK-Rinnen für die Linienentwässerung – dauerhaft und beständig und langlebig – sowohl für die Entwässerung von Terrassen und Fassaden, als auch von gewerblichen oder öffentlichen Flächen. WOLFA GFK-Rinnen werden als Flachrinnen, Kastenrinnen oder V-Rinnen komplett mit Abdeckung geliefert. Mit einer großen Auswahl an Abdeckungen wie GFK-, Edelstahl-, Guss- oder Pressgitterrosten sowie einem Schlitzaufsatz ermöglichen WOLFA GFK-Rinnen verschiedene Einbauvarianten und Belastungsklassen von A15 bis D400.
Drainagerinnen für die Terrassen- und Fassadenentwässerung
Drainagerinnen für die Terrassen- und Fassadenentwässerung von WOLFA gewährleisten eine sichere Ableitung von Oberflächenwasser an Fassaden und Dränung der wasserführenden Schicht auf Flachdächern, Balkonen und Terrassen. Die WOLFA-Drainagerinnen verfügen über ein schlichtes Design und eine geringe Einbauhöhe für einen barrierefreien Anschluss an Terrassentüren – egal ob aus Stahl als Kastenschlitzrinne Fixo oder aus GFK als Kammrinne Aquastop Drain, WOLFA Flachrinne oder WOLFA Schlitzrinne.

Bitte melden Sie sich an

Um diese Funktion nutzen zu können, müssen Sie bei heinze.de registriert und angemeldet sein.

Hier anmelden

Diese Seite weiterempfehlen

1459128522