132

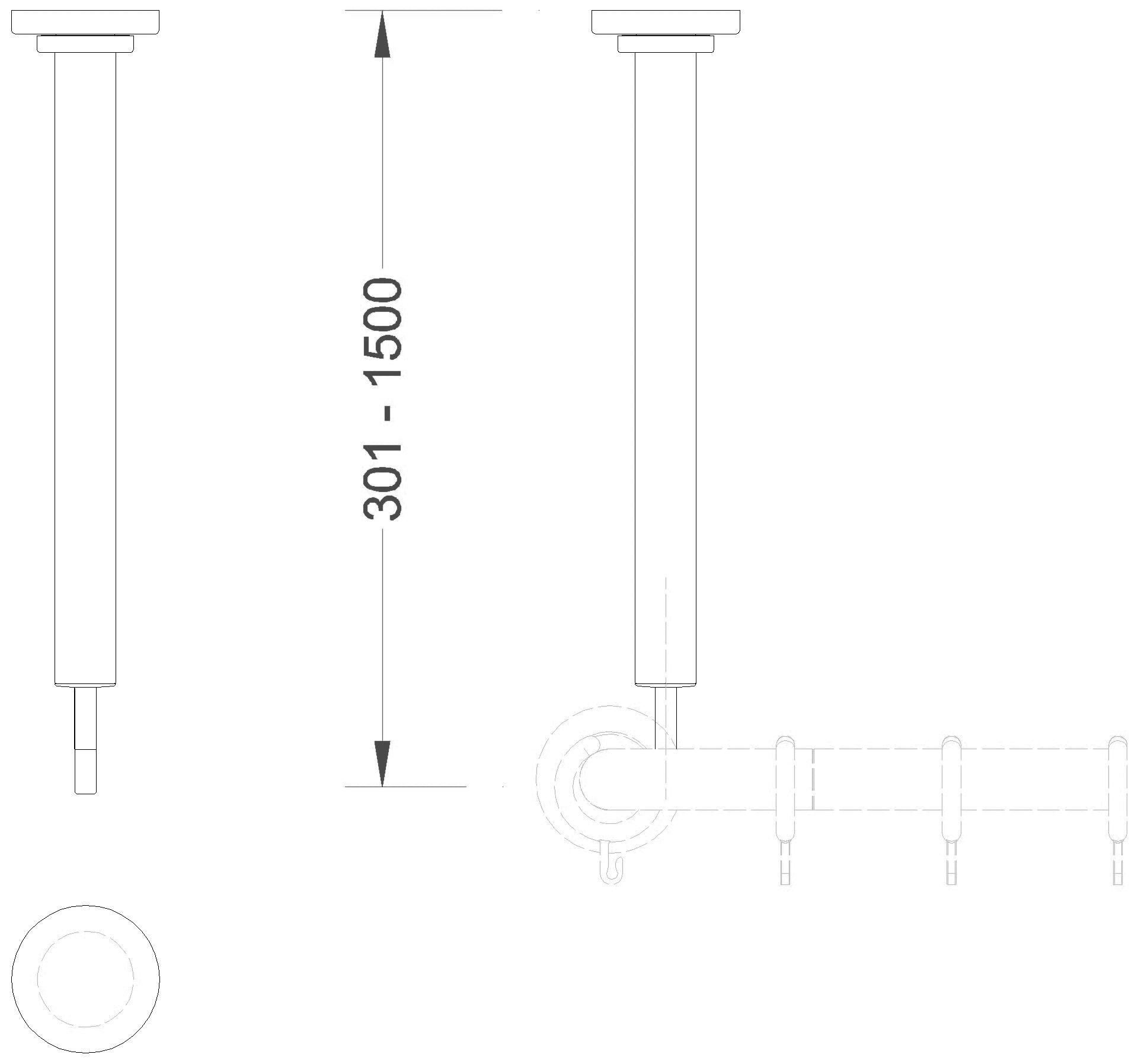
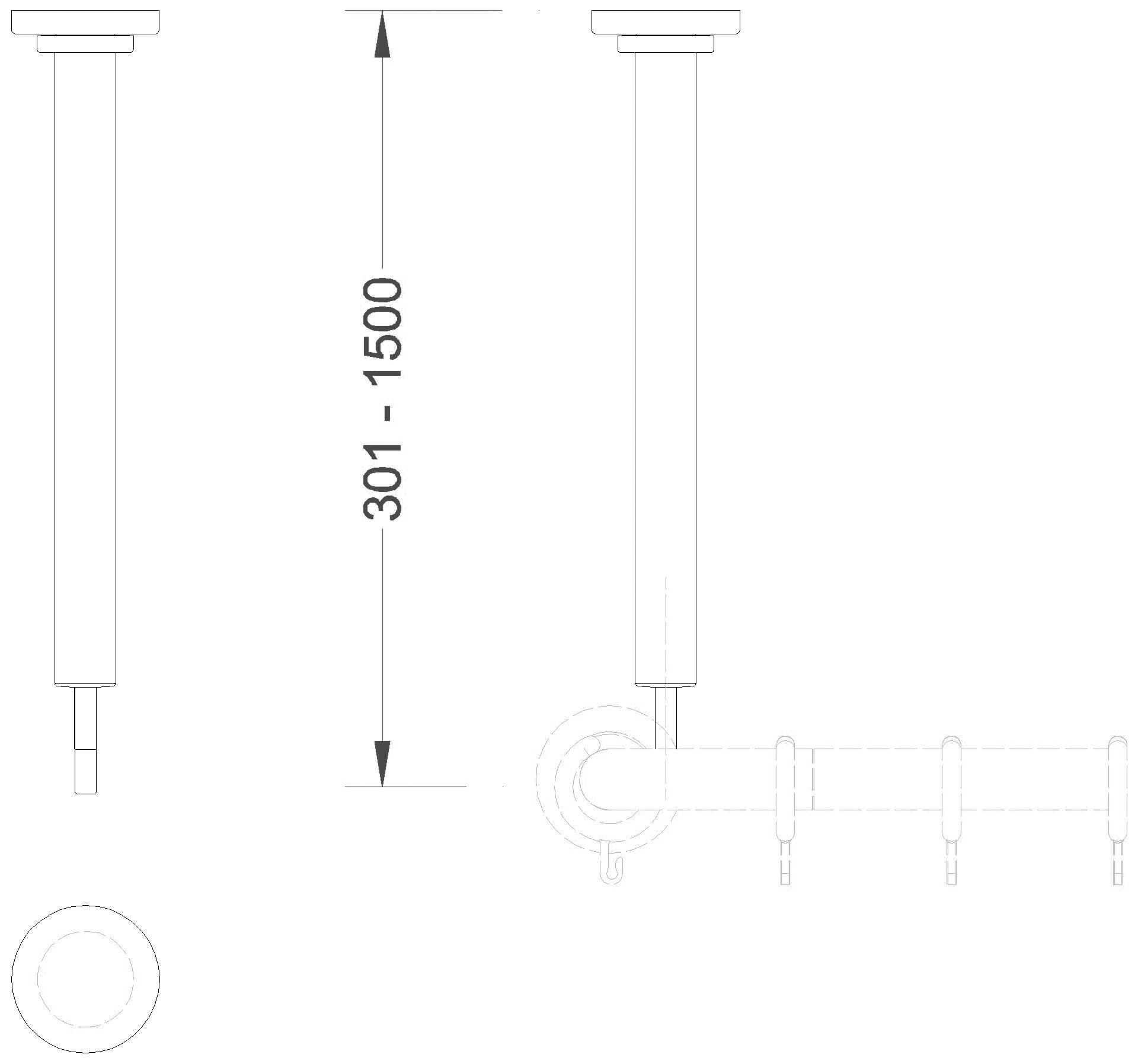
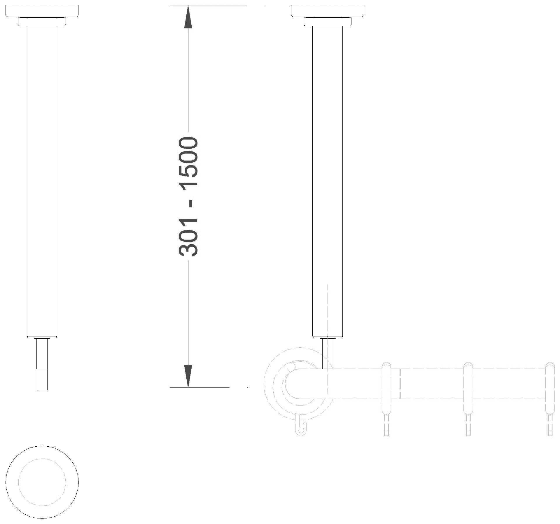
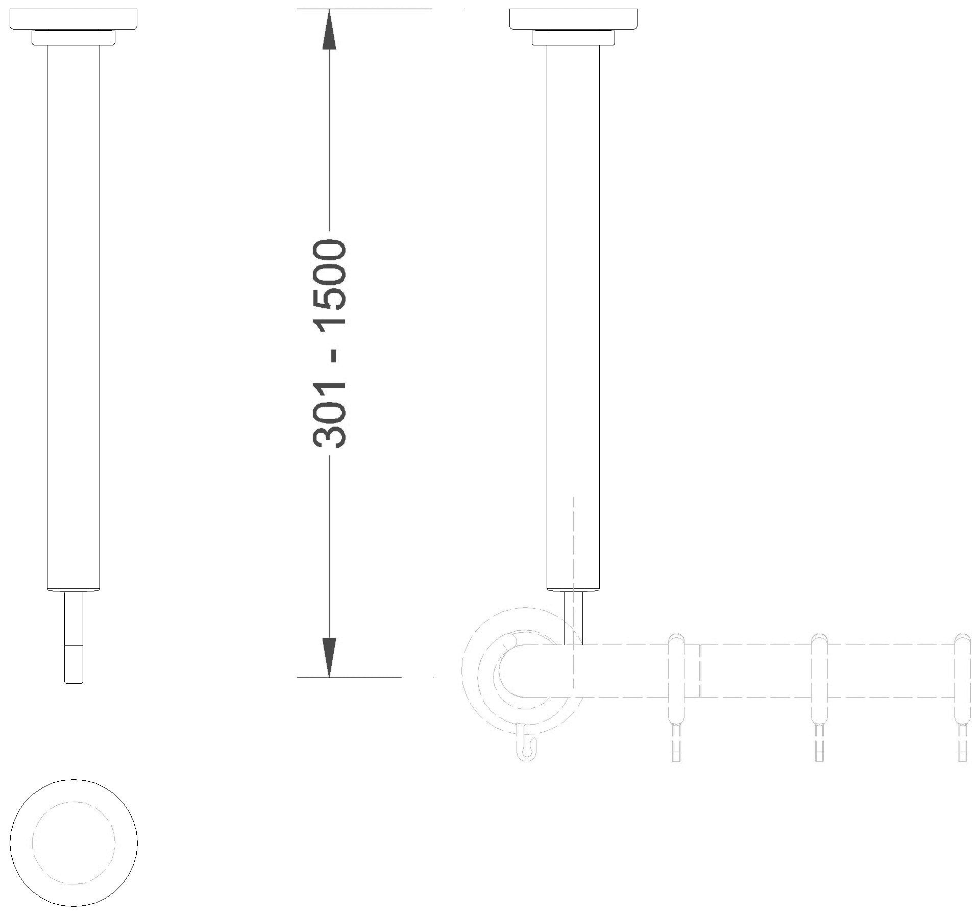
CAD-Details zu Suizidhemmende Badausstattungen

Hier finden Sie Konstruktionszeichnungen, Ausführungsdetails und technische Zeichnungen zum Produktbereich Suizidhemmende Badausstattungen in den wichtigsten CAD-Formaten (DWG und DXF).

Suche: Suizidhemmende Badausstattungen Hersteller: HEWI Heinrich Wilke

Auswahl filtern

HEWI Heinrich Wilke

Bitte melden Sie sich an

Um diese Funktion nutzen zu können, müssen Sie bei heinze.de registriert und angemeldet sein.

Hier anmelden
1413671212